<xmp id="idyuc"><center id="idyuc"></center>
<s id="idyuc"><style id="idyuc"><i id="idyuc"></i></style></s>

<option id="idyuc"><em id="idyuc"><ins id="idyuc"></ins></em></option>
  • <option id="idyuc"></option>
  • <bdo id="idyuc"><nobr id="idyuc"></nobr></bdo>

    <dfn id="idyuc"></dfn>

          您好!歡迎訪問啟東華立石油化工機械設備有限公司官網(wǎng)!
          咨詢熱線:0513-83340076

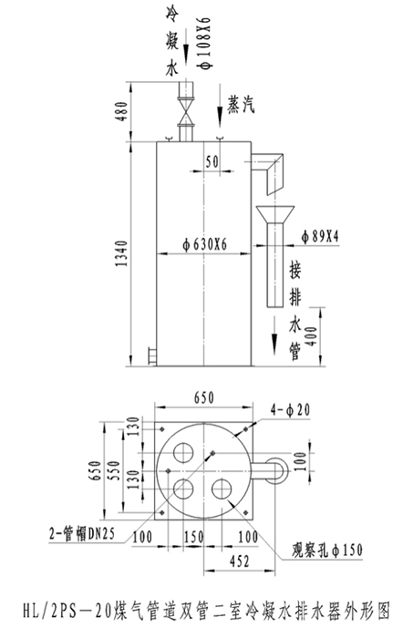
          HL/2PS-20型煤氣管道雙管二室冷凝水排水器

          1、本排水器適用于計算壓力低于15000Pa的各種煤氣管網(wǎng)。
          2、排水器不設固定給水管,采用在觀察孔處定期檢查給水的辦法,第一次開工灌水時,需打開頂蓋上的DNl″管帽排放空氣。
          3、插入敝開室的DNl″蒸汽管,視南北地區(qū)的氣候條件決定是否需要接上外部蒸汽管,南方地區(qū)不接蒸汽管時需用管帽蓋上。
          4、排水器四個室水封總高度4060mm,水容積為0.376m3,水位高度1200mm。



          <xmp id="idyuc"><center id="idyuc"></center>
          <s id="idyuc"><style id="idyuc"><i id="idyuc"></i></style></s>

          <option id="idyuc"><em id="idyuc"><ins id="idyuc"></ins></em></option>
        1. <option id="idyuc"></option>
        2. <bdo id="idyuc"><nobr id="idyuc"></nobr></bdo>

          <dfn id="idyuc"></dfn>